VMX535S型5要素自动气象变送器
VMX535S型5要素自动气象变送器
VMX535S型5要素自动气象变送器
	 
 
	
VMX535S型5要素自动气象变送器是由陕西威瑞仪器仪表有限公司研发的针对多领域气象参数进行监测的仪器。设备创新性地将气象标准五参数(温度、相对湿度、大气压力、降雨量、总辐射\光照)通过一个高集成度结构来实现,可实现户外气象参数24小时连续在线监测,通过数字量通讯接口将五项参数一次性输出给用户。
	
产品特点
1、标配监测温度、相对湿度、大气压力、降雨量、总辐射\光照等五项参数,RS485通讯,MODBUS协议通讯(可定制协议);
2、精度高、性能可靠,适用于户外气象恶劣环境领域;
3、实现参数采集、可选配扩展LORA、GPRS、4G等无线方式,实现数据自动上传网络平台,手机客户端实时查看数据;
4、实时监测气象环境数据,成本低,适合网格化布点;
5、体积小、模块化设计,灵活布局;
6、数据采集采用32位高速处理芯片,稳定、抗干扰。
7、可扩展外接风速、风向、地温、地湿、EC等传感器组成10要素气象站。
	
	
	
	
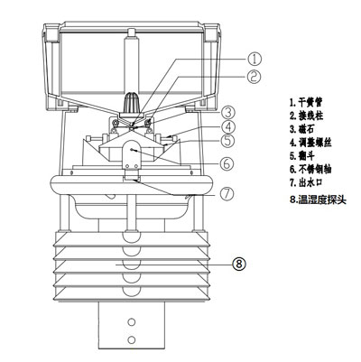
结构图
	 
 
	
	
产品参数
| 监测参数 | 测量范围 | 分辨率 | 精度 | 
| 温度 | -40-60℃ | 0.01℃ | ±0.3℃ (@25℃,典型) | 
| 湿度 | 0-100%RH | 0.01%RH | ±3%RH (0-90%RH) | 
| 气压 | 300-1100hpa | 0.1hpa | ±0.5hpa(0-30℃) | 
| 降雨量 
					 | 0-200mm/h | 0.2mm | ±0.4mm(≤10mm),±4%(>10mm) | 
| 光照度 | 0-200KLUX | 10LUX | 3% | 
| ☆辐射 | 0-2000w/㎡ | 1w/㎡ | ±5% | 
| 监测原理 | 温湿度度(瑞士Sensirion 数字温湿度传感器)、雨量(翻斗式) 光照(德国ROHM数字感光芯片)、辐射(欧司朗硅光电池) | ||
| 输出信号 | RS485通讯、 Modbus通讯协议 | ||
| 供电 | 9-24VDC 
					 | ||
| 固定方式 | 套筒固定; 法兰转接盘固定 | ||
| 功耗 | <10mA@12V 
					 | ||
| 壳体材质 | ASA工程塑料(防紫外线防风化防腐蚀,常年应用不变色) | ||
| 防护等级 | IP66 | ||
| ☆固定支架 | 1.5米、3米法兰固定;1.8米三脚架固定 | ||
| ☆GPS | 设备跟踪定位 | ||
| ☆数据发布 | PC端、手机APP、液晶电视展示等 | ||
 
             
             
             
             
            